Avant d'entreprendre la réparation de la carrosserie d'une voiture, même paraissant légèrement accidentée, il est nécessaire d'effectuer une série de contrôles :
Ce contrôle consiste à examiner le véhicule aux abords des fixations mécaniques et dans les zones fusibles ou vulnérables de façon à détecter la présence de plis de déformation, fissures ou déchirures.
(Notamment sur la structure supérieure en aluminium à l'aide d'un révélateur de fissure).
Le contrôle visuel peut être complété par un contrôle à la pige qui permettra par comparaisons symétriques de mesurer certaines déformations (pour plus de détail sur chaque point à contrôler, se reporter au paragraphe banc de réparation ci-après).
C'est le seul contrôle qui permet de déterminer si le choc subi par le véhicule a ou n'a pas affecté le comportement routier de celui-ci.
Important : il ne faut pas négliger, dans les cas limite, le contrôle des éléments de train roulant qui pourraient également avoir subi des déformations. Par principe, aucun élément soudé constitutif de la coque ne doit être remplacé sans s'être assuré que le soubassement n'a pas été affecté par le choc.
Controle visuel (partie supérieure en aluminium)

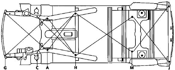
Points de pigeage


Point a : fixation arrière de berceau.

Point c : fixation avant de berceau.

Point g : extrémité avant de longeron avant, fixation de traverse radiateur.

Point h : point de référence extension de longeron.

Point m : point de référence g et d traverse de train arrière.

Point j : traverse extrême arrière.